
油田用電磁流量計
- 品*:JKM/凱銘儀表
- 型號:JKM-LDE
- 測量范圍:0.028~205258m3/h
- 精度等級:0.5級、1.0級
- 公稱通徑:DN10~DN2200
- 適用介質:污水、導電液體
- 工作壓力:1.6~6.3MPa
- 工作溫度:-20~+200℃
- 供電方式:220V 24V 鋰電池
- 訂貨號:DKE658343XSZ
油田用電磁流量計產品概述
采用電磁感應原理測量介質流體流速的電磁流量計。它在管道的兩側加一個磁場,被測介質流過管道就切割磁力線,在兩個檢測電極上產生感應電勢,其大小正比于流體的運動速度。可以用于測量酸、堿、鹽溶液、水煤漿、礦漿、砂漿灰泥、紙漿、樹脂、橡膠乳、合成纖維漿和感光乳膠等各種懸浮物、氣化汽和粘性物質的流量。漿料流量計密封性能好,還可用于自來水和地下水道系統。而且測量過程不與流體接觸,適于制藥、生物化學和食品工業。
電磁流量計是高精度、高可靠和使用壽命長的流量儀表,所以在設計產品結構、選材、制定工藝、生產裝配和出廠測試等過程中每一個環節我們都非常細致講究,還自行設計了一套中國*先進的,專用于漿料流量計的生產設備和流量實流標定裝置,從而在軟件和硬件上都能切實保證產品長期的高質量。水泥漿流量計特別設計了帶背光寬溫的中.英文液晶顯示器,功能齊全實用、顯示直觀、操作使用方便。

油田用電磁流量計產品特點
1、測量精度不受流體密度、粘度、溫度、壓力和電導率變化的影響。
2、測量管無阻礙、無活動部件、無壓損,直管段要求較低。
3、電磁流量傳感器可帶接地電極,實現儀表良好接地。
4、電磁流量傳感器采用先進加工工藝,使儀表具有良好的抗負壓能力。
5、全數字量處理,抗干擾能力強,測量可靠,精確度高。
6、高清晰度背光LCD顯示,全漢字菜單操作,使用方便,操作簡單,在強光下貨夜晚都能清晰讀書。
7、具有雙向流量、雙向總量累計功能,電流、頻率具備雙向輸出功能。
8、儀表系統測量精度高,使用范圍寬,不是可用于污水、水泥漿液礦漿液等的測量,還可用于強酸、強堿液體流量的測量。
9、轉換器輸出功能強大:不但具有4-20mA、脈沖輸出,還具有RS485或RS232、HART 等數字通訊以及GPRS無線數據遠傳。
油田用電磁流量計技術參數
1、公稱通徑(mm):管道式四氟襯里:DN10~DN600;管道式橡膠襯里:DN40~DN1200;(特殊規格可定制)
2、流動方向:正,反,凈流量;
3、量程比:150:1;
4、重復性誤差:測量值的±0.1%;
5、精度等級:管道式:0.5級,1.0級;
6、被測介質溫度:普通橡膠襯里:-20~+60℃;高溫橡膠襯里:-20~+90℃;聚四氟乙稀襯里:-30~+100℃;高溫型四氟襯里:-20~+180℃;
7、額定工作壓力:DN6-DN80:≤1.6MPa;DN100-DN250:≤1.0MPa;DN300-DN1200:≤0.6MPa;(高壓可定制);
8、流速范圍:0.1-15m/s;
9、電導率范圍:被測流體電導率≥5μs/cm;
10、電流輸出:0~10mA:0~1.5kΩ;4~200mA:0~750 kΩ;負載電阻;
11、數字輸出頻率:上限可在1~5000HZ之間;
12、數字輸出方式:輸出頻率內設定帶光電隔離的晶體管集電極開路雙向輸出;
13、集電極*大電流:外接電源≤35V導通時集電極*大電流為250mA;
14、供電電源:AC220V或DC24V;
15、要求直管段長度:上游≥5DN,下游≥2DN;
16、連接方式:流量計與配管之間均采用法蘭連接;
17、連接尺寸:法蘭連接尺寸應符合GB11988規定;
18、防爆等級:mdIIBT4;
19、防護等級:IP65,特殊訂制*高可達IP68;
20、環境溫度:-25~+60℃;
21、相對溫度:5%~95%;
22、消耗總功率:小于20W;
23、信號輸出:4-20mA(負載0-750Ω),脈沖/頻率,控制電平;
24、供電電源:AC220V,允差15%;或DC24V,紋波≤5%;
25、通訊輸出:RS 485,MODBUS協議,HART協議,Profibus-DP協議;
油田用電磁流量計工作原理
流量計測量原理是基于法拉*電磁感應規律。流量計的測量管是一內襯絕緣材料的非導磁合金短管。兩只電極沿管徑方向穿通管壁固定在測量管上。其電極頭于襯里內表面基本齊平。勵磁線圈由雙向方波脈沖勵磁時,將在與測量管軸線垂直的方向上產生一磁通量密度為B的工作磁場。此時,如果具有一定電導率的流體流經測量管,將切割磁力線感應出電動勢E。電動勢E正比于磁通量密度B,測量管內徑d與平均流速 的乘積、電動勢E(流量信號)由電極檢出并通過電纜送至轉換器。轉換器將流量信號放大處理后,可顯示流體流量,并能輸出脈沖,模擬電流信號,用于流量的測量和控制。

式中: E---------為電極間的信號電壓(v)
B---------磁通密度(T)
d---------測量管內徑(m)
V--------平均流速(m/s)
K---------常數
由于K為常數,勵磁電流是恒流的,故B也是常數,則由(1-1)式可知,體積流量Q與信號電壓E成正比,即流速感應的信號電壓E與體積流量Q成線性關系。因此,只要測量出E就可確定流量Q,這就是電磁流量計的基本工作原理。
由(1-1)式可知,被測流體介質的溫度、密度、壓力、導電率、液固兩相流體介質的液固成分比等參數不會影響測量結果。至于流動狀態只要符合軸對稱流動(如層流或紊流)就不會影響測量結果的。因此說電磁流量計是一種真正的體積流量計。

油田用電磁流量計內襯材料的選擇
應根據被測介質的腐蝕性磨損性和溫度來選擇內襯材料
1、襯里材料:氯丁橡膠 Ne
耐腐蝕性能:耐一般低濃度酸堿鹽的腐蝕。
工作溫度:-20~70℃
適用范圍:工業用水污水低濃度酸堿鹽。
2、襯里材料:聚氨酯橡膠 PO
耐腐蝕性能:有極好的耐磨性能,專用于強磨損性漿液,不耐腐。
工作溫度:-10~60℃
適用范圍:含固體顆粒的液體(水泥漿礦漿等)。
3、襯里材料:聚全氟乙丙烯 FEP
耐腐蝕性能:1耐熱耐腐蝕性與PTFE相當。2機械強度高,抗磨損性能好。3內表光滑,不易粘附沉淀物。4有很好的耐負壓,抗真空作用。
工作溫度:-40~180℃
適用范圍:除砂漿等強磨損性介質外的所有流體。與PTFE一樣,能用于飲料等有衛生要求的介質。
4、襯里材料:聚四氟乙烯 PTFE
耐腐蝕性能:幾乎可以抵抗所有化學介質的腐蝕,抗磨損性能較差。
工作溫度:-40~180℃
適用范圍:不能用于負壓管道及磨損性較強的流體。
油田用電磁流量計電極的選擇
應根據被測流體的腐蝕性來選擇電極的材料,請查有關手冊,對于特殊流體應作腐蝕性試驗
1、材料:316L不銹鋼(V)
耐腐蝕性能:1適用于工業、生活用水,原水井水,城市污水等中性溶液;2弱腐蝕性酸、堿、鹽介質如碳酸、醋酸等;
2、材料:哈氏合金C(HC)
耐腐蝕性能:1適用于耐氧化性酸,如硝酸、混酸、鉻酸與硫酸的混合物;2耐氧化性鹽類或其它氧化劑環境的腐蝕如Fe、Cu;3對海水、堿溶液,氧化物溶液有 極好的耐腐蝕性;4不適用:鹽酸;
3、材料:哈氏合金B(HB)
耐腐蝕性能:1對于非氧化酸、堿、鹽如硫酸、磷酸、氫氟酸有良好的腐蝕性;2不適用:硝酸;
4、材料:鈦(Ti)
耐腐蝕性能:耐海水,各種氯化物忽然次氯酸鹽及多種氫氧化物的腐蝕;
5、材料:鉭(Ta)
耐腐蝕性能:除了氫氟酸外,幾乎能耐一切化學介質的腐蝕。但價格昂貴;
6、材料:鉑(Pt)
耐腐蝕性能:適用所有的酸堿鹽溶液(發煙硫酸及硝酸);
7、材料:碳化鎢(W)
耐腐蝕性能:具有優異的耐磨性能,專用于泥漿、紙漿等磨損性介質;

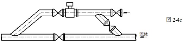
油田用電磁流量計外形尺寸圖


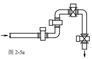
油田用電磁流量計選型說明

油田用電磁流量計儀表安裝


油田用電磁流量計外形尺寸圖


油田用電磁流量計選型說明

油田用電磁流量計儀表安裝
2.6.1 安裝須知
流量計的設計、試驗和供電均有安全規定,用戶必須嚴格遵守本說明書的有關條款確保流量計的安全操作及運行。保證電磁流量計測量精度的必要條件如下:
1.被測液體介質必須具有導電性。
2.被測液體介質必須充滿管道。
3.被測液體介質必須均勻,以避免電導率的不均勻性(會產生嚴重干擾),如需動態加入化學物質,應在儀表下游處注入。
4.電磁流量計系統必須良好接地。
5.流量計入口直管段至少 5 倍 DN (測量管道內徑),出口直管段至少 2 倍 DN。
6.在流量計附近,避免強電磁場干擾,避免安裝在大型電機或變壓器等設備附近。
2.6.2 安全措施
為保障人身和設備的安全,須遵守以下條款:
1.在選擇位置和安裝流量計之前,必須認真閱讀完本說明書有關部分,同時要考慮流量計、相關設備和機身環境的安全要求。
2.應由具備一定儀表知識的人員進行儀表的安裝和維修。
3.正確安裝流量計傳感器及配管,保證密封安全可靠,液體壓力不得超過銘*上規定的*高工作壓力。
4.采取一定措施,防止觸電事故。
5.流量計的吊裝設備應符合安全規定。
2.6.3 安裝前的檢查
1.檢查法蘭、襯里、殼體和出線套有無損傷。
2.打開盒蓋、檢查接線印刷電路板有無松動或損壞。
3.檢查銘*中型號編碼與訂貨編碼是否相符。
2.6.4 吊裝
流量計應采用正確吊裝方法進行吊裝,吊裝設備的安全載荷及防護措施應符合有關規定。禁止在轉換器箱體(一體式流量計)或接線盒(分離型流量計)處用繩拴接起吊儀表。

2.6.5 正確選擇安裝位置
正確地選擇安裝位置和正確安裝流量計都是非常重要的環節,若在安裝環節失誤,輕者影響測量精度,重者會影響流量計的使用壽命,甚至會損壞流量計。選擇安裝位置時應注意以下問題:
1.測量電極的軸線必須近似于水平方向(與水平線夾角一般為 10°以內)

2.測量管道內必須完全充滿液體。
3.流量計的前方*少要有 5×D(D 為流量計內徑)長度的直管段,后方*少要有 2×D(D為流量計內徑)長度的直管段。

4.流體的流動方向和流量計的箭頭方向一致。
5.管道內要有真空會損壞流量計的內襯,需特別注意。
6.在流量計附近應無強電磁場,儀表安裝場所的磁場強度應小于 400A/m(避免安裝在大型電機或變壓器等設備附近)。
7.若測量管道有振動,在流量計的兩邊應有固定的支座。
8.測量不同介質的混合液時,混合點與流量計之間的距離*少要有 30×D(D 為流量計內徑)。
9.為方便今后流量計的清洗和維護,應安裝旁通管道。

10.安裝聚四氟乙烯內襯的流量計時,連接兩法蘭的螺栓應注意均勻擰緊,否則容易壓壞聚四氟乙烯內襯,*好用力矩扳手。
11.儀表應避免強烈振動和過大的溫度變化,同時要防止腐蝕性液體的滴漏對儀表造成損害。
12.如果安裝地點易受陽光曝曬,應當增加遮蔽設施。
13.安裝傳感器時,應保證測量管與工藝管道同軸。對 50mm 及以下公稱通徑的傳感器,其軸線偏離不超過 2mm。DN65~DN150 其軸線偏離不超過 3mm,≥DN200 其軸線偏離不超過 4mm。
14.法蘭之間加裝的法蘭墊圈,應有良好的耐腐蝕性能,該墊圈不得伸入管道內部。
15.緊固儀表螺栓、螺母,其螺紋應完整無損,潤滑良好。應依據法蘭尺寸、力矩大小采用力矩扳手緊固螺栓。
16.在傳感器鄰近管道進行焊接或火焰切割時,要采用隔離措施,防止襯里受熱,且必須確認儀表未通電運行,防止損壞儀表。
2.6.6 安裝方式
應安裝在水平管道較低處和垂直向上處,避免安裝在管道的*高點和垂直向下處。

應安裝在管道的上升處。

在開口排放的管道安裝,應安裝在管道較低處。若管道落差超過 5m,在傳感器的下游安裝排氣閥且傳感器的下游應有一定的背壓。

應在傳感器的下游安裝控制閥和切斷閥,而不應安裝在傳感器上游。

傳感器絕對不能安裝在泵的進口處,應安裝在泵的出口處。

在測量井內安裝流量計的方式:1.入口 2.溢流管 3. 清洗孔 4.入口柵 5. 短管 6.流量計 7.出口 8.排放閥

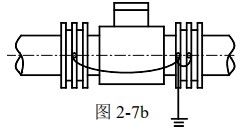
2.6.7 接地要求
電磁流量計的接地是非常重要的,若接地不好,無法正常運行,傳感器部分應有良好的單獨接地線(銅芯截面積為 1.6mm2),接地電阻<10Ω。
1.接地環
若與傳感器連接的管道是絕緣性的,則需用接地環,應選擇其材質和電極的材質一樣,若被測介質是磨損性的,應選擇帶頸接地環。

2.接地方式
流量計在金屬管道上的安裝,金屬管道內壁沒有絕緣涂層。

流量計在塑料或內壁有絕緣涂料、油漆、內補等管道上安裝時,應在傳感器的兩端安裝接地環。

流量計在陰極保護管道上安裝,防護電解腐蝕的管道一般在其壁和外壁是絕緣的,安裝時注意接地環和管道上的法蘭應絕緣。

2.6.8 改變轉換器盒的方向
轉換器盒可以根據需要作四個不同方向的轉變。
1.一體型流量計的轉換器盒方向的改變
① 取下固定轉換器盒的 4 個六角螺絲。
② 將轉換器盒轉到理想的方向,旋轉時注意內部連接線。
③ 重新固定轉換器盒。
2.分體型流量計的接線盒方向的改變
① 取下固定接線盒的 4 個六角螺絲
② 將接線盒轉到理想的方向,旋轉時注意內部連接線
③ 重新固定接線盒。
2.7 運行
應遵守 2.6.1 節及 2.6.2 節中的各項安全條款和規定。
2.7.1 運行前的檢查
流量計投運前進行下述檢查:
1.流量計在運輸和安裝中有無損傷;
2.使用電源電壓同銘*電壓是否相符;
3.使用正確流量值的保險絲;
4.表正確接地;
5.量程設定是否正確(見轉換器部分有關內容);
檢查后,打開管道閥門使液體充滿管線系統,應注意排除泄露和系統內的殘留氣體。接通儀表電源,一般流量計通電預熱 10 分鐘即可正常工作。
2.7.2 流向調整
流量計和流向規定見 2.6.5 節,對于分離型流量計,雖然安裝傳感器能保證流向箭頭同現場實際正向一致。因存在用戶接線的問題,有可能出現下述狀況:
1.具有單向輸出轉換器,有正向流量時輸出顯示零或負值(如0~10mA的0mA或4~20mA的4mA)。
2.具有雙向顯示的轉換器,有正向流量時,輸出為負向顯示。此時只要斷開電源,調接任一側兩勵磁線(EXT+及 EXT-)位置,就可使輸出方向,實際正向流向、箭頭方向保持一致。
2.8 維修
進行維修之前,必須閱讀 2.5.1 節及 2.5.2 節中的安全條款。
當確認流量計發生故障時,可同制造廠聯系。
2.8.1 常規維修
一般需目檢電氣連接有無破損及儀表工作是否正常。
2.8.2 故障檢查(參照轉換器部分有關內容)
如果儀表不能令人滿意地工作,可按以下步驟檢查:
1.檢查流量計管線閥門是否全部打開,管道是否充滿液體,流量計是否在接近流量范圍上限值流量下工作;
2.檢查儀表電源、開關、保險絲等供電設施是否正常;
3.檢查故障點是在電纜中還是在儀表中;
4.檢查轉換器的編號和儀表系數與傳感器是否一致;
5.檢查量程設定是否正確;
6.檢查流量計輸出連接是否正確及接地是否良好;
7.按轉換器部分規定內容檢查。
2.8.3 電磁流量計故障分析和現象匯總表:

2.9 運輸與貯存
為防止儀表在轉運時受到損傷,在到達安裝現場以前,請保持制造廠發運時的包裝狀態。在存過程中,貯存地點應具備下列條件:
1.防雨防潮;
2.機械振動小,并避免沖擊;
3.溫度范圍-20~60℃;
4.溫度低于 80%,*好在 50%左右;
5.貯存使用過的傳感器,須先清除附著于襯里和電極表面上的被測介質;
6.露天貯存,儀表性能可能會受影響。
下一篇:JKM-LDE潛水型電磁流量計


